真人语音电话机器人,嘉单科技 筛选意向客户的外呼神器
真人语音电话机器人,嘉单科技 筛选意向客户的外呼神器
产品价格:(人民币)
  • 规格:完善
  • 发货地:本地至全国
  • 品牌:
  • 最小起订量:1套
  • 免费会员
    会员级别:试用会员
    认证类型:企业认证
    企业证件:通过认证

    商铺名称:郑州嘉单信息科技有限公司

    联系人:()

    联系手机:

    固定电话:

    企业邮箱:1433709032@qq.com

    联系地址:

    邮编:

    联系我时,请说是在汽配名企网上看到的,谢谢!

    商品详情
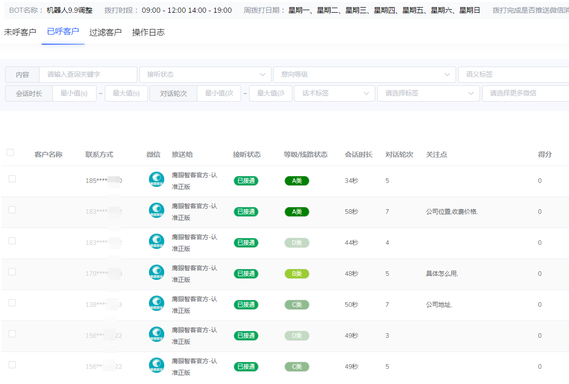
      嘉单科技ai智能电销机器人专门为电销而生,机器人主要用来替代人工完成基础的筛选工作,筛选出意向客户推送到用户的微信上,用户做好跟进,提高工作效率。
      ai智能电销机器人不仅仅可以对客户提出的问题进行自动回复,同时还可以根据和客户沟通情况,把客户自动分类,自动记录,更好用。

      郑州嘉单科技--AI智能电销机器人是一个什么样的工作流程呢?


      1、线路稳定:线路稳定是最基本的保障,有了稳定的线路,稳定的通话量,自然能够拨打出更多的意向客户 ,
      2、高效率:业务人员每天除去休息时间,不间断拨打电话,每天最多拨打(200~400)通电话,而机器人每天可以拨打(3000~无上限),是人工拨打的7~N倍。
      3、电话营销机器人采用真人录音,不会有机械应答的烦恼,通话过程中,支持打断,优先回复客户咨询的问题,再转入主流程引导,非常智能。

      4、机器人会根据通话内容自动的分类成A、B、C类客户,自动标记未接通的电话,过一段时间会再呼叫一次。并且可以记录整个通话内容,通过文字和语音的模式记录在后台。


      5、自动学习能力强,机器人前期设置的话术应答,后续拨打过程中,客户问到话术之外的问题,会自动记录在后台上,随时可添加删减,越用越聪明,智商越高。
    0571-87774297